7:30-17:00
服务热线
13905260737
24小时服务热线:13775692192
公司简介
企业文化
资质荣耀
发展历程
组织机构
新闻资讯
视频动画
资料下载
屋顶通风天窗..
百叶窗系列..
特种门,工业门..
智能温室系列
除尘环保系列
挡风抑尘墙
人才战略
培训与发展
薪酬福利
人才招聘
屋顶通风天窗系列,采光排烟天窗系列,采光罩
+
屋顶通风天窗(器)系列
屋顶通风器介绍
弧线型、强排风型、采光型等屋顶通风器
弧线防腐型屋顶通风器
薄型屋顶通风器
屋顶通风帽、排烟通风机系列
+
采光排烟天窗系列
采光排烟天窗系列
三角型屋顶采光排烟天窗
一字型屋顶采光排烟天窗
圆拱型(上开式)屋顶采光排烟天窗
圆拱型(侧开式)屋顶采光排烟天窗
侧开型采光排烟天窗
避风型采光排烟天窗
平开型屋顶采光排烟天窗
+
保温飘雪采光带(采光罩)
保温防飘雪采光带(采光罩)
百叶窗系列,工业用窗系列,工业开窗机系列,微型开窗机系列
+
钢质、铝合金、不锈钢、玻璃系列多功能百叶窗
系列百叶窗介绍
ZC-BCF单层固定、调节防雨百叶窗
ZC-BSXY通风消音百叶窗
ZC-BCSD手动百叶窗(玻璃/铝合金)
ZC-BC活动百叶窗
ZC-BCFSB双层防沙调节百叶窗
ZC-BCFSB防沙保温调节百叶窗
ZC-LBC双层防雨调节百叶窗
ZC-BCP消防排烟百叶窗
ZC-BC电动中空平板百叶窗
ZC-BC电动户外遮阳百叶帘
+
工业彩钢窗系列
工业彩钢窗系列
+
工业钢天(侧)窗系列
工业钢天(侧)窗系列
+
工业开窗机KC系列
开窗机介绍
ZCKC-1上悬天窗开窗机
ZCKC-2上悬、中悬侧窗开窗机
ZCKC-3手摇开窗机
ZCKC-4平开窗开窗机
ZCKC-5立转窗开窗机
ZCKC-6推拉窗开窗机
+
微型开窗机系列
ZCKC-7-1双齿联杆电动开窗机
ZCKC-7-2单齿式电动开窗机(CA/D-400型)
ZCKC-7-10大链式电动开窗机
ZCKC-7-11双推链式开窗机
ZCKC-7-12多窗联动电动开窗机
ZCKC-8智能链式开窗机
ZCKC-9螺杆式电动开窗机 推杆式电动开窗机
特种门,工业门系列
+
特种门系列
+
工业门系列
ZCTM车间库房推拉门
ZCTM车间库房提升门
ZCTM车间库房快卷门
ZCTM车间库房卷帘门
ZCTM变电所大门
智能温室系列
玻璃温室
塑料温室
树脂板型温室
温室配套设施
除尘环保系列
ZCLMC大型脉冲长布袋除尘器
ZCQM系列气箱式脉冲除尘器
ZCFX(II)系列气箱式脉冲除尘器
ZCQM(M)系列煤磨袋式防爆除尘器
ZCGDM型锅炉脉冲袋式除尘器
ZCB型系列脉冲式扁布袋除尘器
ZCMC型脉冲单机除尘器
ZCCDM型高炉煤气干法脉冲袋式除尘器
ZCMZ圆桶型脉冲除尘器
ZCMD型系列机械振动式扁布袋除尘器
PL系列脉冲式滤筒除尘器
ZCHG系列烘干机专用脉冲除尘器
ZCLB立窑玻纤袋式除尘器
水泥回转窑烟气净化技术
金属冶炼AOD炉烟气净化技术
医疗垃圾焚烧炉烟气净化技术
矿热炉烟气净化技术
ZCH高效动态立式烘干机
ZCWH卧式回转烘干机
ZCSH套筒式三筒烘干机
挡风抑尘墙
ZC抗风抑尘墙系列
了解紫晨产品
您现在的位置:您现在的位置:
紫晨产品
>>采光排烟天窗系列
三角型屋顶采光排烟天窗
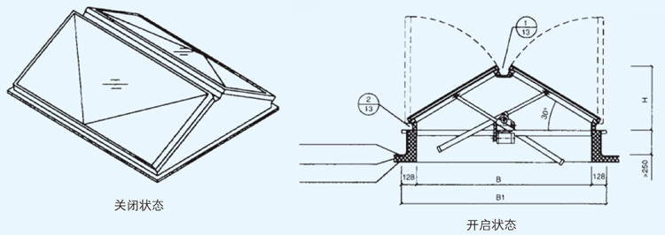
三角型屋顶采光排烟天窗
该型电动采光排烟天窗窗体上表面与安装基础面成30°角,夏季有利于排水,冬季不易积雪。适用于平时以采光为主、通风为辅的建筑。其最大开启角度为60°。
上一篇
:
采光排烟天窗系列
下一篇
:
一字型屋顶采光排烟天窗
分享到
腾讯微博
新浪微博
QQ空间
人人网
7:30-17:00
服务热线
13905260737 24小时服务热线:13775692192
屋顶通风器介绍
|
弧线型、强排风型、采光型等屋顶通风器
|
弧线防腐型屋顶通风器
|
薄型屋顶通风器
|
屋顶通风帽、排烟通风机系列
|
采光排烟天窗系列
|
三角型屋顶采光排烟天窗
|
一字型屋顶采光排烟天窗
|
圆拱型(上开式)屋顶采光排烟天窗
|
圆拱型(侧开式)屋顶采光排烟天窗
|
侧开型采光排烟天窗
|
避风型采光排烟天窗
|
平开型屋顶采光排烟天窗
|
保温防飘雪采光带(采光罩)
|
系列百叶窗介绍
|
ZC-BCF单层固定、调节防雨百叶窗
|
ZC-BSXY通风消音百叶窗
|
ZC-BCSD手动百叶窗(玻璃/铝合金)
|
ZC-BC活动百叶窗
|
ZC-BCFSB双层防沙调节百叶窗
|
ZC-BCFSB防沙保温调节百叶窗
|
ZC-LBC双层防雨调节百叶窗
|
ZC-BCP消防排烟百叶窗
|
ZC-BC电动中空平板百叶窗
|
ZC-BC电动户外遮阳百叶帘
|
工业彩钢窗系列
|
工业钢天(侧)窗系列
|
开窗机介绍
|
ZCKC-1上悬天窗开窗机
|
ZCKC-2上悬、中悬侧窗开窗机
|
ZCKC-3手摇开窗机
|
ZCKC-4平开窗开窗机
|
ZCKC-5立转窗开窗机
|
ZCKC-6推拉窗开窗机
|
ZCKC-7-1双齿联杆电动开窗机
|
ZCKC-7-2单齿式电动开窗机(CA/D-400型)
|
ZCKC-7-10大链式电动开窗机
|
ZCKC-7-11双推链式开窗机
|
ZCKC-7-12多窗联动电动开窗机
|
ZCKC-8智能链式开窗机
|
ZCKC-9螺杆式电动开窗机 推杆式电动开窗机
|
ZCTM车间库房推拉门
|
ZCTM车间库房提升门
|
ZCTM车间库房快卷门
|
ZCTM车间库房卷帘门
|
ZCTM变电所大门
|
玻璃温室
|
塑料温室
|
树脂板型温室
|
温室配套设施
|
ZCLMC大型脉冲长布袋除尘器
|
ZCQM系列气箱式脉冲除尘器
|
ZCFX(II)系列气箱式脉冲除尘器
|
ZCQM(M)系列煤磨袋式防爆除尘器
|
ZCGDM型锅炉脉冲袋式除尘器
|
ZCB型系列脉冲式扁布袋除尘器
|
ZCMC型脉冲单机除尘器
|
ZCCDM型高炉煤气干法脉冲袋式除尘器
|
ZCMZ圆桶型脉冲除尘器
|
ZCMD型系列机械振动式扁布袋除尘器
|
PL系列脉冲式滤筒除尘器
|
ZCHG系列烘干机专用脉冲除尘器
|
ZCLB立窑玻纤袋式除尘器
|
水泥回转窑烟气净化技术
|
金属冶炼AOD炉烟气净化技术
|
医疗垃圾焚烧炉烟气净化技术
|
矿热炉烟气净化技术
|
ZCH高效动态立式烘干机
|
ZCWH卧式回转烘干机
|
ZCSH套筒式三筒烘干机
|
ZC抗风抑尘墙系列
|
友情链接:
中国建材网
,
黄页88
,
copyright @ 2016 江苏紫晨环保科技有限公司
苏ICP备16007293号-1
版权所有 All Reserved.